Клуб любителей китайских скутеров

Форум клуба любителей китайских скутеров

      
Текущее время: 30 Apr 2026, 06:33

Часовой пояс: UTC + 3 часа


Правила форума


Посмотреть правила форума



Начать новую тему Ответить на тему  [ Сообщений: 18 ]  На страницу Пред.  1, 2
Автор Сообщение
 Заголовок сообщения: Re: как повысить крейсерскую скорость....
СообщениеДобавлено: 19 Dec 2008, 13:52 
Не в сети
Старожил
Старожил
Аватар пользователя

Зарегистрирован: 07 Aug 2007, 11:27
Сообщений: 2239
Откуда: МСК, ВАО, дом 5, корпус 37/11, строение 76Б, спросить Клаву Васильевну
Поблагодарил: раз(а)
Поблагодарили: раз(а)
Скутер: matrix180, fmb50, зид175, ЛВЗ50))
Стаж: н/у
STIV писал(а):
15T X 36
16T X 36
17T X 36
18T X 36

Егор, растолкуй что к чему. Я могу привезти такие, но не знаю, они подойдут вообще? Что это вообще за цифры? Количество зубьев на шестеренках? Или что? И какой вариант из этих 4-х наиболее приемлемый?

По просьбам трудящихся.
Значит так.

Как видно из общего списка (тема пендосов и твои данные), имеются следующие ГП.
13/40 (согласно заморской темы - сток)
15/36
16/37
16/36
17/36
18/36

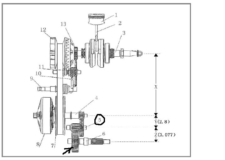
Сии цифири есть не что иное, как количество зубьев на ведущей/ведомой шестернях. См. рисунок внизу. Вал с двумя шестернями (на рисунке позиция 5) – это есть ведущая. Опять же применительно к МАЛЕНЬКОЙ шестерни на этом валу. Большая относится к предыдущей паре и нас не интересует и далее не рассматривается.
Другая шестерня (на рисунке показана стрелкой) установлена на шлицевой вал колеса: с одной стороны на шлицы сажается колесо, с другой – также интересующая нас ВЕДОМАЯ шестерня.

Идем далее.
Так как не зная точных передаточных отношений (не разобрав конкретный редуктор) невозможно достаточно точно рассчитать эффект от установки чего-то нового, поэтому:
Сделаем некоторое допущение. Типа, аксиома, ибо плясать нам пока больше не от чего.
Как заявляет автор пендосского топика, на стоковой паре максималка составляла около 100кмч по жпсу. Пожалуй, соглашусь. У меня жпс показывал максималку около 97-100кмч. (ну, не каждый же день меряю, поэтому данные статистически неподтвержденные). Ну да ладно.
Делим зуб на зуб))
0.325
0.416
0.432
0.444
0.472
0.500

Составив пропорцию 100кмч – 0.325, а ХХХкмч – 0.416 получим, 128.9кмч
Аналогично:
13/40 - 0.325 – 100кмч
15/36 - 0.416 – 128.9кмч
16/37 - 0.432 – 132.9кмч
16/36 - 0.444 – 136.6кмч
17/36 - 0.472 – 145кмч
18/36 - 0.500 – 153.8кмч

Сразу хочу предостеречь тюнингеров оптимистично полагающих, что ГП 18/36 «валит». Нифига она не повалит, пока не будет достаточно МОЩНОСТИ в движке. Про обороты и момент мне лучше не рассказывайте.
Только под хорошую долгую горку эта ГП вам поможет.

Сей метод не претендует на абсолютную достоверность ибо – см. первую аксиому ака допущение.
Если вы хотите более точных цифр по расчету трансмиссии (типа, теоретической максималки) – для этого необходимо:
Передаточные отношения трансмиссии в том числе:
Двух зубчатых передач редуктора, передаточное отношение вариатора на максимальном радиусе (можно поколдовать опытным путем), обороты двигателя на мах мощности, диаметр колеса. (внешний – по шине. А если уж совсем круто – то радиус качения колеса – с учетом статического прогиба шины). Но, отмечу, что главная засада для тонного теоретического подсчета, как мне видится – определение передаточного числа вариатора.

Для практического применения рекомендую:
Разобрать редуктор и глянуть ЧТО тамстоит в стоке. Потом чесать репу)) - и в тему сюды.

Такс, вопросы, предложения?
Критики, ау!)))


Вложения:
транс.jpg
транс.jpg [ 63.09 KiB | Просмотров: 1737 ]

_________________
К И Т А Й - Г_ ВНО!(с)Х 2 раза Если у вас проблемы с прочтением подписи, обратитесь к модераторам.
Вернуться наверх
 Профиль  
 
 Заголовок сообщения: Re: как повысить крейсерскую скорость....
СообщениеДобавлено: 19 Dec 2008, 14:17 
Не в сети
Посетитель
Посетитель

Зарегистрирован: 11 Oct 2006, 14:10
Сообщений: 150
Откуда: Киеффлянчег.
Поблагодарил: раз(а)
Поблагодарили: раз(а)
Скутер: G-Max Volcan 150
Стаж: 10
Пачот и увага тебе, камрад. Все правильно.
Стоковый редуктор на стоковом же моторе дает максималку в 100 км ровно. После некоторых доработок как мотора так и вариатора у меня максималка порядка 110-115.
16/37 - 0.432 – 132.9кмч - вот это хочу. Дайте блин. денег даю :))) Мощи моего мотора как раз должно хватить выдать порядка 120-125 км.час на такой паре. (предрекая вопросы что в моторе сделано. Голова распилена, каналы, клапана. И самое интересное - зажигание стоит правильное. что при карбе с увеличенными диффузорами даст легкость крутится до 10к рпм. Сейчас специяльно карб стоит родной, что бы не загонять обороты высоко. НА оборотах выше 7500 греется сильно все. Особенно редуктор.)


Вернуться наверх
 Профиль  
 
 Заголовок сообщения: Re: как повысить крейсерскую скорость....
СообщениеДобавлено: 19 Dec 2008, 14:25 
Не в сети
Старожил
Старожил
Аватар пользователя

Зарегистрирован: 07 Aug 2007, 11:27
Сообщений: 2239
Откуда: МСК, ВАО, дом 5, корпус 37/11, строение 76Б, спросить Клаву Васильевну
Поблагодарил: раз(а)
Поблагодарили: раз(а)
Скутер: matrix180, fmb50, зид175, ЛВЗ50))
Стаж: н/у
John Ripper писал(а):
Пачот и увага тебе, камрад. Все правильно.
Стоковый редуктор на стоковом же моторе дает максималку в 100 км ровно. После некоторых доработок как мотора так и вариатора у меня максималка порядка 110-115.
16/37 - 0.432 – 132.9кмч - вот это хочу. Дайте блин. денег даю :))) Мощи моего мотора как раз должно хватить выдать порядка 120-125 км.час на такой паре. (предрекая вопросы что в моторе сделано. Голова распилена, каналы, клапана. И самое интересное - зажигание стоит правильное. что при карбе с увеличенными диффузорами даст легкость крутится до 10к рпм. Сейчас специяльно карб стоит родной, что бы не загонять обороты высоко. НА оборотах выше 7500 греется сильно все. Особенно редуктор.)

первым делом смотри какая у тебя пара УЖЕ стоит. А уж относительно нее посчитаем
:-D

_________________
К И Т А Й - Г_ ВНО!(с)Х 2 раза Если у вас проблемы с прочтением подписи, обратитесь к модераторам.


Вернуться наверх
 Профиль  
 
Показать сообщения за:  Сортировать по:  
Начать новую тему Ответить на тему  [ Сообщений: 18 ]  На страницу Пред.  1, 2

Часовой пояс: UTC + 3 часа


Кто сейчас на форуме

Сейчас этот форум просматривают: нет зарегистрированных пользователей и гости: 6


Вы не можете начинать темы
Вы не можете отвечать на сообщения
Вы не можете редактировать свои сообщения
Вы не можете удалять свои сообщения
Вы не можете добавлять вложения

Перейти:  
Powered by phpBB © phpBB Group
china-scooter.ru © 2006-2019