Клуб любителей китайских скутеров

Форум клуба любителей китайских скутеров

      
Текущее время: 24 Mar 2026, 15:19

Часовой пояс: UTC + 3 часа


Правила форума


Посмотреть правила форума



Начать новую тему Ответить на тему  [ Сообщений: 21 ]  На страницу 1, 2  След.
Автор Сообщение
 Заголовок сообщения: Определение размера карбюратора для 2 тактного двигателя
СообщениеДобавлено: 04 Nov 2009, 21:13 
Не в сети
Старожил
Старожил

Зарегистрирован: 18 Jan 2009, 14:07
Сообщений: 7631
Откуда: 69 RUS
Поблагодарил: раз(а)
Поблагодарили: раз(а)
Медали: 6
За дальнобой 2-й степени. (1) За полезные и полные ответы. (1) За тех. помощь 1-й степени (1) За тех. помощь 2-й степени (1) За статью 1-й степени. (1)
Скутер: стелс лидер-50 2т (72 cc)
Стаж: 4
Уважаемые ГУРУ помоготе определиться с размером карбюратора, по магазинному он 14, я думаю что 17,5, скажите где мерять?
Вложение:
11.jpg
11.jpg [ 132.18 KiB | Просмотров: 5320 ]

Косточка согнутого пальца внизу - 23 мм, для сравнения. Главное скажите где мерять, возник спор.


Вернуться наверх
 Профиль  
 
 Заголовок сообщения: Re: как определить размер карбюратора
СообщениеДобавлено: 05 Nov 2009, 11:50 
Не в сети
Старожил
Старожил
Аватар пользователя

Зарегистрирован: 25 Aug 2008, 09:05
Сообщений: 1472
Откуда: Лабинск
Поблагодарил: раз(а)
Поблагодарили: раз(а)
Скутер: Stels Tactic 72 2T + Honling Joker 72cc 4T
Стаж: 3 года
Поговорил щас с многоуважаемым Yamh, ответ подтвердил мои догадки. Размер 12, 17.5 и прочее - это диаметр той хреновины которая тросиком двигается, по научному - заслонка. Она цилиндрической формы, которая перекрывает канал подачи воздуха и на ней находится игла. Всем взять штангены в руки и померять! :-[

_________________
Stage6 Sport Pro
Dellorto PHVA 17.5
Tecnigas Next-R
Motoforce Evo
Malossi MultiVar + 16x13x7.5
Malossi VentilVar
Malossi X-Special
Malossi VL12
желтая_торк
белые_MHR_сцепление
84км при 8700об/мин


Вернуться наверх
 Профиль  
 
 Заголовок сообщения: Re: Определение размера карбюратора для 2 тактного двигателя
СообщениеДобавлено: 05 Nov 2009, 18:36 
Не в сети
Старожил
Старожил

Зарегистрирован: 18 Jan 2009, 14:07
Сообщений: 7631
Откуда: 69 RUS
Поблагодарил: раз(а)
Поблагодарили: раз(а)
Медали: 6
За дальнобой 2-й степени. (1) За полезные и полные ответы. (1) За тех. помощь 1-й степени (1) За тех. помощь 2-й степени (1) За статью 1-й степени. (1)
Скутер: стелс лидер-50 2т (72 cc)
Стаж: 4
И так продолжим. Сегодня снял карб и замерял размеры, немного промахнулся с замерами и пришел к выводу, что 17,5 это по верху овала, как и говорил кто то, перемерял поточнее, нет не так.
Вот точные размеры: выход Д - 20 мм, овал по вертикали - 18,5 мм, овал по горизонтали - 14,5мм, диаметр золотника - 15 мм.
VVV, твой знакомый неправ, если золотник до конца открыт, выходит больше 15 полюбому.
Есть другие данные? Импульс, что ответил производитель?
Хотябы скажите какое на делорто отверстие (круг, овал)
Вложение:
SDC10024 1.jpg
SDC10024 1.jpg [ 73.29 KiB | Просмотров: 5239 ]


Вернуться наверх
 Профиль  
 
 Заголовок сообщения: Re: Определение размера карбюратора для 2 тактного двигателя
СообщениеДобавлено: 05 Nov 2009, 19:20 
Не в сети
Старожил
Старожил

Зарегистрирован: 08 Jul 2009, 18:07
Сообщений: 3187
Откуда: Беларусь
Поблагодарил: раз(а)
Поблагодарили: раз(а)
Медали: 4
За полезные и полные ответы. (1) За тех. помощь 1-й степени (1) За тех. помощь 2-й степени (1) За вклад в развитие клуба (1)
Скутер: Hors 154\ 157QMJ\RC125T-9X\152QMJ
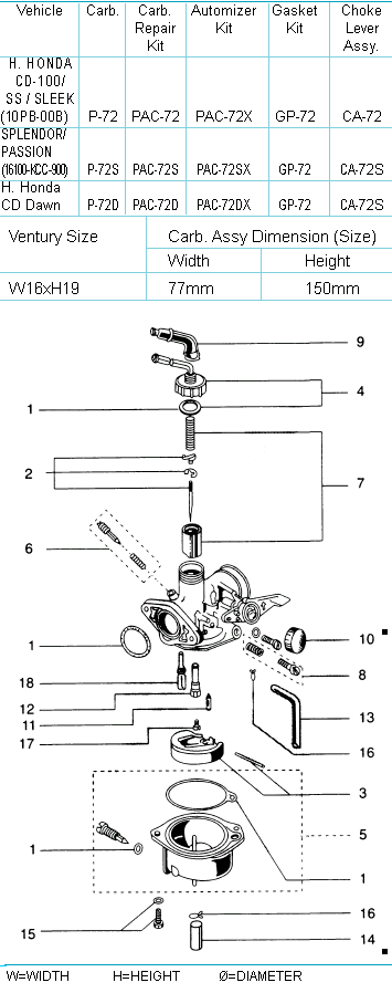
Вложение:
p-72.gif
p-72.gif [ 24.63 KiB | Просмотров: 5229 ]

Размер обозначается W16XH19(овал)
Это пример.

_________________
„Изучай правила, чтобы знать, как правильно их нарушить.“
„Мир несовершенен, поскольку мы несовершенны.“


Вернуться наверх
 Профиль  
 
 Заголовок сообщения: Re: Определение размера карбюратора для 2 тактного двигателя
СообщениеДобавлено: 05 Nov 2009, 19:25 
Не в сети
Старожил
Старожил

Зарегистрирован: 18 Jan 2009, 14:07
Сообщений: 7631
Откуда: 69 RUS
Поблагодарил: раз(а)
Поблагодарили: раз(а)
Медали: 6
За дальнобой 2-й степени. (1) За полезные и полные ответы. (1) За тех. помощь 1-й степени (1) За тех. помощь 2-й степени (1) За статью 1-й степени. (1)
Скутер: стелс лидер-50 2т (72 cc)
Стаж: 4
То есть должно обозначаться двумя размерами?
А про делорто, круг, овал, и я отстану.

добавлено через 30 мин.
Мне шепнули, что делорто тоже овальный, как же тогда 17,5 мм они измеряли. Где двойной размер?
Проверил расчет по своим данным, по простому, овал 18,5+14,5/2=16,5, такие бывают?


Последний раз редактировалось funix 05 Nov 2009, 20:16, всего редактировалось 1 раз.

Вернуться наверх
 Профиль  
 
 Заголовок сообщения: Re: Определение размера карбюратора для 2 тактного двигателя
СообщениеДобавлено: 05 Nov 2009, 20:25 
Не в сети
Старожил
Старожил

Зарегистрирован: 08 Jul 2009, 18:07
Сообщений: 3187
Откуда: Беларусь
Поблагодарил: раз(а)
Поблагодарили: раз(а)
Медали: 4
За полезные и полные ответы. (1) За тех. помощь 1-й степени (1) За тех. помощь 2-й степени (1) За вклад в развитие клуба (1)
Скутер: Hors 154\ 157QMJ\RC125T-9X\152QMJ
funix
Укажи маркировку карбюратора, если не трудно, желательно полную.

_________________
„Изучай правила, чтобы знать, как правильно их нарушить.“
„Мир несовершенен, поскольку мы несовершенны.“


Вернуться наверх
 Профиль  
 
 Заголовок сообщения: Re: Определение размера карбюратора для 2 тактного двигателя
СообщениеДобавлено: 05 Nov 2009, 20:27 
Не в сети
Старожил
Старожил
Аватар пользователя

Зарегистрирован: 25 Aug 2008, 09:05
Сообщений: 1472
Откуда: Лабинск
Поблагодарил: раз(а)
Поблагодарили: раз(а)
Скутер: Stels Tactic 72 2T + Honling Joker 72cc 4T
Стаж: 3 года
Leader jb-2

_________________
Stage6 Sport Pro
Dellorto PHVA 17.5
Tecnigas Next-R
Motoforce Evo
Malossi MultiVar + 16x13x7.5
Malossi VentilVar
Malossi X-Special
Malossi VL12
желтая_торк
белые_MHR_сцепление
84км при 8700об/мин


Вернуться наверх
 Профиль  
 
 Заголовок сообщения: Re: Определение размера карбюратора для 2 тактного двигателя
СообщениеДобавлено: 05 Nov 2009, 20:36 
Не в сети
Старожил
Старожил

Зарегистрирован: 08 Jul 2009, 18:07
Сообщений: 3187
Откуда: Беларусь
Поблагодарил: раз(а)
Поблагодарили: раз(а)
Медали: 4
За полезные и полные ответы. (1) За тех. помощь 1-й степени (1) За тех. помощь 2-й степени (1) За вклад в развитие клуба (1)
Скутер: Hors 154\ 157QMJ\RC125T-9X\152QMJ
impulse
Это маркировка карба?

_________________
„Изучай правила, чтобы знать, как правильно их нарушить.“
„Мир несовершенен, поскольку мы несовершенны.“


Вернуться наверх
 Профиль  
 
 Заголовок сообщения: Re: Определение размера карбюратора для 2 тактного двигателя
СообщениеДобавлено: 05 Nov 2009, 20:36 
Не в сети
Старожил
Старожил

Зарегистрирован: 18 Jan 2009, 14:07
Сообщений: 7631
Откуда: 69 RUS
Поблагодарил: раз(а)
Поблагодарили: раз(а)
Медали: 6
За дальнобой 2-й степени. (1) За полезные и полные ответы. (1) За тех. помощь 1-й степени (1) За тех. помощь 2-й степени (1) За статью 1-й степени. (1)
Скутер: стелс лидер-50 2т (72 cc)
Стаж: 4
Вложение:
4.jpg
4.jpg [ 162.44 KiB | Просмотров: 5229 ]


Вернуться наверх
 Профиль  
 
 Заголовок сообщения: Re: Определение размера карбюратора для 2 тактного двигателя
СообщениеДобавлено: 05 Nov 2009, 20:38 
Не в сети
Старожил
Старожил
Аватар пользователя

Зарегистрирован: 25 Aug 2008, 09:05
Сообщений: 1472
Откуда: Лабинск
Поблагодарил: раз(а)
Поблагодарили: раз(а)
Скутер: Stels Tactic 72 2T + Honling Joker 72cc 4T
Стаж: 3 года
Это все что на нем есть, больше нет ни буквы ни цифры

_________________
Stage6 Sport Pro
Dellorto PHVA 17.5
Tecnigas Next-R
Motoforce Evo
Malossi MultiVar + 16x13x7.5
Malossi VentilVar
Malossi X-Special
Malossi VL12
желтая_торк
белые_MHR_сцепление
84км при 8700об/мин


Вернуться наверх
 Профиль  
 
 Заголовок сообщения: Re: Определение размера карбюратора для 2 тактного двигателя
СообщениеДобавлено: 05 Nov 2009, 22:42 
Не в сети
Старожил
Старожил

Зарегистрирован: 18 Jan 2009, 14:07
Сообщений: 7631
Откуда: 69 RUS
Поблагодарил: раз(а)
Поблагодарили: раз(а)
Медали: 6
За дальнобой 2-й степени. (1) За полезные и полные ответы. (1) За тех. помощь 1-й степени (1) За тех. помощь 2-й степени (1) За статью 1-й степени. (1)
Скутер: стелс лидер-50 2т (72 cc)
Стаж: 4
Помогите, кто может размер овала делорто 17,5 измерить, ширину и высоту, хоть для сравнения.


Вернуться наверх
 Профиль  
 
 Заголовок сообщения: Re: Определение размера карбюратора для 2 тактного двигателя
СообщениеДобавлено: 06 Nov 2009, 00:14 
Не в сети
Старожил
Старожил

Зарегистрирован: 08 Jul 2009, 18:07
Сообщений: 3187
Откуда: Беларусь
Поблагодарил: раз(а)
Поблагодарили: раз(а)
Медали: 4
За полезные и полные ответы. (1) За тех. помощь 1-й степени (1) За тех. помощь 2-й степени (1) За вклад в развитие клуба (1)
Скутер: Hors 154\ 157QMJ\RC125T-9X\152QMJ
Вложение:
.JPG
Это Dellorto Carburetor...
Цифра в обозначении, диаметр золотника.
Также производитель указывает, присоединительный размер, в данном случае 24мм * 35мм.
Может комплектоваться автоматическим обогатилем.

_________________
„Изучай правила, чтобы знать, как правильно их нарушить.“
„Мир несовершенен, поскольку мы несовершенны.“


Вернуться наверх
 Профиль  
 
 Заголовок сообщения: Re: Определение размера карбюратора для 2 тактного двигателя
СообщениеДобавлено: 06 Nov 2009, 06:49 
Не в сети
Старожил
Старожил

Зарегистрирован: 18 Jan 2009, 14:07
Сообщений: 7631
Откуда: 69 RUS
Поблагодарил: раз(а)
Поблагодарили: раз(а)
Медали: 6
За дальнобой 2-й степени. (1) За полезные и полные ответы. (1) За тех. помощь 1-й степени (1) За тех. помощь 2-й степени (1) За статью 1-й степени. (1)
Скутер: стелс лидер-50 2т (72 cc)
Стаж: 4
очень даже может быть, хотя полной доказухи и нет, поверю наслово :005 :005 :005 так как очень хочется верить.

Предлагаю: Impulse, Yamh, VVV с его другом, Хорсу респект, а карбюратор Лидер JB-2 считать китайской недоделкой.


Вернуться наверх
 Профиль  
 
 Заголовок сообщения: Re: Определение размера карбюратора для 2 тактного двигателя
СообщениеДобавлено: 24 Nov 2009, 19:28 
Не в сети
Посетитель
Посетитель
Аватар пользователя

Зарегистрирован: 13 Jun 2009, 18:18
Сообщений: 133
Откуда: Москва
Поблагодарил: раз(а)
Поблагодарили: раз(а)
Медали: 1
За инновации (1)
Скутер: Skif 2T, Peugeot Satelis 250 RS, Nexus Matrix
Стаж: 12
Сегодня специально сделаю скрин делорто 17,5 фото выложу.

_________________
Athena 70cc,Dellorto 19,LeoVince ZX,Multivar,Malossi FLY,Сoil Naruku,Bell Polini,BOOST,HTQ 16/45.


Вернуться наверх
 Профиль  
 
 Заголовок сообщения: Re: Определение размера карбюратора для 2 тактного двигателя
СообщениеДобавлено: 24 Nov 2009, 19:34 
Не в сети
Старожил
Старожил

Зарегистрирован: 18 Jan 2009, 14:07
Сообщений: 7631
Откуда: 69 RUS
Поблагодарил: раз(а)
Поблагодарили: раз(а)
Медали: 6
За дальнобой 2-й степени. (1) За полезные и полные ответы. (1) За тех. помощь 1-й степени (1) За тех. помощь 2-й степени (1) За статью 1-й степени. (1)
Скутер: стелс лидер-50 2т (72 cc)
Стаж: 4
Попрошу с размерами овала.


Вернуться наверх
 Профиль  
 
Показать сообщения за:  Сортировать по:  
Начать новую тему Ответить на тему  [ Сообщений: 21 ]  На страницу 1, 2  След.

Часовой пояс: UTC + 3 часа


Кто сейчас на форуме

Сейчас этот форум просматривают: нет зарегистрированных пользователей и гости: 15


Вы не можете начинать темы
Вы не можете отвечать на сообщения
Вы не можете редактировать свои сообщения
Вы не можете удалять свои сообщения
Вы не можете добавлять вложения

Перейти:  
Powered by phpBB © phpBB Group
china-scooter.ru © 2006-2019